MikroTik взялся за PoE++ всерьёз. Рассматриваем выдающийся свитч с реальной мощностью порта до 90 Вт.
Перед нами стоечный свитч CRS320-8P-8B-4S+RM, которым MikroTik хочет продемонстрировать свои позиции в области питания по Ethernet. Некоторая неоднозначность заложена в коммутационные возможности свитча. Это гигабитный свитч, расширенный четырьмя 10-гигабитными портами SFP+. Некоторым пользователям гигабитный порт покажется слишком медленным. Другим — наоборот, слишком быстрым. Это происходит, потому что есть большое количество PoE-устройств, например, интегрированных антенн или умных светильников, которым достаточно линии Fast Ethernet. С другой стороны, внушительная мощность позволяет подключать другие свитчи, например, RB5009UG+S+IN, тонких клиентов и точки доступа WiFi7, для связи с которыми по витой паре хотелось бы видеть 2,5 Гбит/с. В любом случае, для MikroTik выпуск такого свитча — важный шаг, т. к. PoE++-порты реализованы по Type 4 и выдают не 60 Вт, как в Type 3, а полноценные 90 Вт.
Позиционирование
Говорить о существовании рыночного сегмента свитчей с гигабитными портами PoE++ на 90 Вт будет некоторым преувеличением, однако можно привести, для сравнения, Netgear AV Line M4250-10G2XF-PoE++ 12-Port 720W по впечатляющей даже для такого уважаемого бренда цене. Можно сказать, что MikroTik попал в яблочко, выпустив продукт для тех, кому нужен полноуправляемый свитч с 90-ваттными гигабитными PoE++-портами.
Теперь взглянем на железо.
Внешний осмотр аппаратной части
Устройство выполнено в формате для серверной стойки, занимаемый размер — 1U. В комплекте есть соответствующие кронштейны.
Вид спереди
16 гигабитных PoE-портов разбиты на две секции по 8. Первые восемь поддерживают протоколы IEEE 802.3af и 802.3at, также известные как PoE и PoE+.
Порты с поддержкой питания
Во второй секции расположены гигабитные порты с PoE++. Они поддерживают как 802.3af/at, так и 802.3bt. Вы, вероятно, знаете, что существует два типа PoE++: порты с поддержкой до 60 Вт и до 90 Вт. В нашем свитче установлены порты на 90 Вт, что делает CRS320-8P-8B-4S+RM источником электроэнергии высокой мощности.

Управляющий и консольный порты
Вслед за портами PoE++ расположены управляющий и консольный порты.
В конце ряда портов расположены слоты для оптоволоконных модулей SFP+ с поддержкой пропускной способности до 10 Гбит/с.

Порты SFP+
На левом боку свитча мы видим отверстия под кронштейны для установки в стойку и больше, особо, ничего.

Левая боковая панель
С противоположной стороны обнаружился также и вентилятор.

Правая боковая панель
На задней панели ещё больше вентиляторов.

Задняя панель
Но они установлены не на внешней панели, а на специальном держателе внутри корпуса. Им отвечает решётка на внешней задней панели. Такое решение, вероятно, призвано уменьшить шум от стационарных вентиляторов. Вентиляторами также снабжены съёмные блоки питания. 1,2 кВт совокупной мощности просят хорошего обдува.

Решётка выдува и вентиляторы на внутренней панели за нею
Шестисотваттные блоки питания поддерживают горячую замену. В стандартной поставке один слот под блок питания пуст.

Слот для блока питания
Ниже показана задняя панель со вставленным дополнительным блоком питания G1483-0600WNB. Добавление второго блока питания увеличивает совокупную мощность PoE. Хотя, на фото могут быть представлены два блока питания, на забывайте, что, стандартно, свитч поставляется с одним блоком.

Два блока питания
Теперь заглянем под крышку.
Внутренняя начинка
Можно заметить, что значительную часть внутреннего пространства занимают слоты для блоков питания. Конструкция для MikroTik достаточно необычная.

Под крышкой
Установлено два блока производства Gospower по 600 Вт (напоминаем, второй докупается отдельно).

Блоки питания внутри корпуса
Блоки питания подключаются к плате распределения питания, расположенной в корпусе вертикально. Такое решение нетипично для MikroTik. Как и то, что каждый блок питания не соединяется с материнской платой собственным кабелем.

Внутренние разъёмы для блоков питания
Взглянем на несколько необычную систему вентиляции. Боковой вентилятор дует на слоты SFP+, а не прямо на платы PoE или коммутационный чип.

Внутренний ракурс сбоку
Вентиляторы, охлаждающие остальную начинку, находятся ближе к задней панели.

Внутренние вентиляторы
Далее мы видим платы PoE, каждая с собственным кабельным соединением.

Внутренний ракурс сзади
Может показаться, что они одинаковые, но, если взглянуть на этикетки, обнаружим, что они, на самом деле, разные. Многие, вероятно, удивятся, почему тут не стоят две платы с поддержкой 802.3bt. А к ним не помешали бы и блоки питания помощнее.

Плата коммутации
Установлен коммутационный чип Marvell Prestera 98DX226S.

Коммутационный чип под радиатором
Он интегрирован с двухъядерным 32-битным управляющим ARM-процессором с 256 МБ оперативной памяти и 32 МБ флеш-памяти. Забавно, что оперативы в 8 раз больше, чем «диска».
Далее, разберёмся с управлением.
Управление
Управлять оборудованием MikroTik можно с помощью CLI, с помощью web-интерфейса или в графическом интерфейсе приложения WinBox, которое повторяет функционал web-интерфейса, и также через него можно войти в интерфейс командной строки.

Интерфейс Winbox крупным планом
WinBox позволяет подключаться к управляемому устройству по MAC-адресу на случай, если вы не уверены насчёт подсети, в которой оказался свитч, и его IP-адреса.
Ещё в CRS320 есть крутая фича перезагрузки подключённых устройств, по питанию, прямо из графического интерфейса. Понятно, что можно просто выключить и включить порт. Но многие из этих свитчей идут в малый и средний бизнес, который не держит сисадминов на полной ставке. А графический интерфейс намного проще и доступней, чем интерфейс командной строки. Особенно удобно перезагружать устройство на порте PoE, если оно труднодоступно.
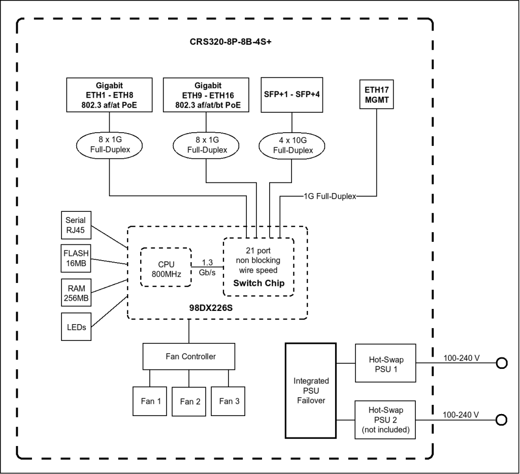
Блок-схема
На блок-схеме можно увидеть Marvell Prestera 98DX226S. Он управляет всеми портами, включая порт управления.

Блок-схема свитча
Следует учитывать, что управляющий ARM-процессор связан с матрицей коммутационного чипа линией в 1,3 Гбит/с. Поэтому, если вы запускаете какие-то сетевые операции с задействованием центрального процессора, они будут ограничены пропускной способностью в 1,3 Гбит/с. Да и сам ЦП, не сказать, чтобы умопомрачительно быстрый.
Прямой межпортовый трафик идёт через коммутационный чип в обход этого бутылочного горлышка, и ничем не ограничен.
Производительность
Взглянем на график производительности.

Производительность.
По оси ординат — пропускная способность, Мбит/с
Если вы заметили, мы не включили в тест порт управления. Часто порт управления работает на скорости 100 Мбит/с и подключён к центральному процессору. Здесь это не так (см. блок-схему), поэтому можно достоверно протестировать основные порты независимо от порта управления.
Вот результаты собственных замеров MikroTik коммутационной производительности:

Коммутационная производительность
Фирменные замеры производительности в мостовом режиме и при маршрутизации:

Скорость маршрутизации и в режиме моста
Цифры и графики наглядно демонстрируют, что большинство портов тут гигабитные, а не 2,5 Гбит/с или более. Также хорошо заметно, что режим моста и маршрутизация находятся под влиянием центрального процессора и его линка с коммутационным чипом.
Далее взглянем на потребление электроэнергии и шумность.
Энергопотребление и шум
Есть о чём поговорить в этом разделе. Сперва можно заметить, что практические замеры мощности на портах PoE+ и PoE++ предсказуемо соответствуют заявленным. Более интересная ситуация с 600-ваттными блоками питания. По умолчанию, в свитч установлен один блок питания.

Блок питания Gospower на 600 Вт
Можно докупить ещё один блок питания, его номер — G1483-0600WNB.

Спаренные блоки питания
В ходе замеров на холостом ходу потребление свитча с обоими блоками питания было в пределах 24—27 Вт. MikroTik заявляет о собственном потреблении свитча «без всего» до 36 Вт. Если вставить модули SFP+ и запустить свитч на полную катушку, можно довести потребление до 40 Вт. С запасом — 50 Вт на всю коммутацию и лампочки. В итоге, на устройства, подключённые по PoE, остаётся, примерно, 550 Вт. Два блока питания по 600 Вт, по официальной информации, подают на свитч 1150 Вт, а на PoE остаётся 963 Вт.
И вот здесь появляется загвоздка. Если один блок питания, подающий порядка полукиловатта на устройства PoE, выходит из строя, оставшегося исправного при более чем половинной загрузке питающего тракта не хватает для продолжения работы. Было бы неплохой идеей предложить для этого свитча блок питания такой мощности, которая бы полностью покрывала PoE-бюджет свитча. Два блока резервировали бы питание с избыточностью. Наличие таких блоков, пусть даже по более высокой цене, закрывало бы потенциально уязвимое звено в обеспечении бесперебойности.
Шум в режиме простоя находится на уровне 40 дБА, что соответствует фону в тихом офисе.
Изъятие вспомогательного блока питания не влияет в режиме простоя ни на потребление, ни на звук.
Выводы
PoE++ реализован в полноценном формате. Полные 90 Вт PoE++ по протоколу 802.3bt Type 4 помогут запитать не только экономичные точки доступа. Если номинальная мощность устройства, подключаемого по PoE+, может достигать 25,5 Вт, а PoE++ Type 3 — 51 Вт, то реализованное в CRS320-8P-8B-4S+RM питание по PoE++ Type 4 позволяет подключать устройства с номинальной мощностью, ни много, ни мало, более 70 Вт! Вы можете запитать, например, оптоволоконный стогигабитный свитч CRS510-8XS-2XQ-IN.
Далее начинаются странности с применением. Зачем оптоволоконному свитчу гигабит на питающем порте, если питание вводится в порт управления с пропускной способностью 100 Мбит/с? А для точки доступа WiFi7 гигабита, явно, мало. Хотелось бы видеть на портах PoE++ пропускную способность 2,5, 5 или 10 Гбит/с. Многие современные десктопы в формате mini PC, цифровые указатели и терминалы могут получать электропитание по PoE++ и имеют пропускную способность в 2,5 Гбит/с на «медном» порте. Характерно, что оптоволоконный аплинк обеспечивает связь с магистралью на скорости до 40 Гбит/с — как раз по 2,5 Гбит/с на питающий порт.
С другой стороны, для многих мощных устройств со входом PoE++ пропускная способность в 1 Гбит/с избыточна. Ведь по PoE++ Type 4 можно запитывать даже мощное освещение. И это главная дилемма данного свитча.
Если же рассматривать CRS320-8P-8B-4S+RM как электростанцию, она может питать восемь 30-ваттных устройств и восемь 90-ваттных устройств. А использование «электростанции» в стандартной поставке позволяет подключить шестнадцать устройств мощностью до 30 Вт, среди которых множество достигают гигабитной пропускной способности.
Заключение
В практическом измерении, у этого свитча есть масса применений. У него впечатляющий энергобюджет, покрывающий сегмент 90-ваттных устройств, четыре порта SFP+, способных обеспечить магистральный аплинк и электрически развязать сегмент сети.
С учётом сказанного, CRS320-8P-8B-4S+RM становится весьма заманчивым предложением для сетей, в которых суммарный киловатт нагрузки можно распределить по 16 устройствам с максимальной пропускной способностью до 1 Гбит/с, а резервирование питания с избыточностью не является абсолютным требованием, по крайней мере, для какого-то сегмента сети. Не следует также забывать про дружелюбный графический интерфейс. И даже добавление вспомогательного блока питания даёт, возможно, лучшее предложение на рынке за гигабитный порт с поддержкой PoE++.
